Product Description
Công ty Phương Loan chuyên cung cấp các loại khớp nối mềm cao su (mối nối mềm cao su) chất lượng, uy tín, đáp ứng tiêu chuẩn.
Thông Tin Khớp Nối Mềm Cao Su
1. Đặc điểm khớp nối mềm cao su
– Bạn đang cần thi công hệ thống ống chịu áp lực tốt.
– Bạn cần bảo vệ hệ thống chống lại sự thay đổi nhiệt độ và áp suất. Bạn muốn hệ thống được giảm chấn động và giảm ồn, để có thể hoạt động ổn định tốt hơn trong thời gian dài.
⇒ Đó là lúc bạn cần sử dụng khớp nối mềm cao su (còn gọi là khớp chống rung cao su ).
Khớp nối mềm cao su thường được chế tạo từ ba lớp, lớp giữ bằng Nylon, lớp trong và ngoài đều bằng cao su EPDM, nên tạo độ dẻo dai, đàn hồi và độ bền sử dụng cao.
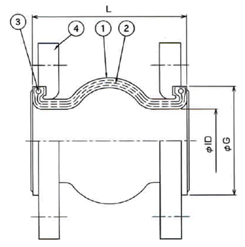
Khớp nối mềm mặt bích:
Mặt bích thép ép chặt chỗ nối, tạo thành chỗ nối không rỉ nước. Việc lắp đặt được thực hiện dễ dàng nhờ vào các lổ mặt bích. Khớp nối mặt bích được thường dùng để nối ống có đường kính lớn, phải chịu áp lực lớn.


Cấu tạo:
- (1) Cover: cao su EPDM
- (2) Reinforcing Fabric: Nylon
- (3) Tube: Cao su EPDM
- (4) Mặt bích: thép xi mạ (theo tiêu chuẩn PN10/ PN16 /JIS 10k)
Khớp nối mềm nối ren:
Thích hợp lắp vào các ống có đường kính nhỏ trong hệ thống ống, lắp đặt nhanh, tức thì.


Cấu tạo:
- (1) Main body: cao su EPDM
- (2) Lining: nylon cord farbic
- (3) Movable joing: forgeable cast iron
2. Chức năng khớp nối mềm:
Khớp nối cao su được sử dụng rộng rãi trong các hệ thống đường ống công nghiệp hiện nay với tác dụng:
- Đảm bảo cho hệ thống đường ống luôn có được áp lực và nhiệt độ tối ưu (trong thực tế khi nhiệt độ thay đổi, ống thép sẽ giãn nở, và để bù trừ sự giãn nở này người ta thường sử dụng khớp nối mềm cao su) với chi phí hợp lý nhờ vào khả năng co giãn của khớp nối mềm giúp kéo dài tuổi thọ của hệ thống.
- Kiểm soát các chấn động, rung lắc và giảm thiểu sự truyền tiếng ồn của hệ thống đường ống.
- Nhờ làm bằng cao su đàn hồi và dạng hình cầu giúp khớp nối mềm cho phép áp suất phân bổ đồng đều lên tất cả bề mặt phía trong khớp nối, làm giảm lực tác dụng lên đường ống, thiết bị hay các loại van công nghiệp…
3. Ứng dụng của khớp nối mềm:
Khớp nối mềm được sử dụng trong các hệ thống đường ống công nghiệp
- Xử lý nước thải
- Hàng hải
- Điều hòa không khí
- Hóa chất
- Hệ thống HVAC (nhiệt, thông gió, điều hòa không khí)
- Hệ thống PCCC (phòng cháy chữa cháy)
- Các hệ thống đường ống công nghiệp khác.
Lưu ý: Vì khớp nối chống rung cao su do làm bằng cao su EPDM, vì thế không nên sử dụng trong các đường ống dẫn xăng dầu, dầu mỏ….Để đạt được hiệu quả tốt, quý khách hãy lắp đặt khớp nối mềm vào những vị trí chịu áp lực lớn và có tần suất biến đổi lớn trong hệ thống đường ống, giúp hệ thống đạt được trạng thái ổn định lâu dài và tiết kiệm chi phí.
Mọi thắc mắc, tư vấn và báo giá các loại khớp nối mềm cao su, quý khách hàng vui lòng liên hệ với chúng tôi để được phục vụ.